VS194-BS4I三相電流變送器使用說明書
免責聲明:本網頁內容來自源于網絡共享,若無意中侵犯了您的知識產權或版權,我們深表歉意,煩請聯系我們,我們將在規定時間內給予刪除等相關處理。另外,此內容僅供瀏覽和參考之用,真實性請自行辨別,我公司不承擔任何責任!
如需PDF格式版本,請調出打印窗口,在選項中選擇“另存為PDF”!
一、產品簡介
VS194-BS4I三相電流變送器通過專用電量芯片采樣,CPU 數字化處理,真有效值算法,高精度的測量三相電壓,三相電流,隔離轉換成線性直流標準模擬信號輸出或RS485數字通信接口輸出。模擬量可選:DC0~20mA、DC4~20mA、DC0~5V、DC1~5V、DC0~10V等變送輸出;RS485數字通信接口,采用國際標準Modbus-rtu通信協議,可與各種PLC、HMI、組態軟件實現組網。

二、主要技術指標

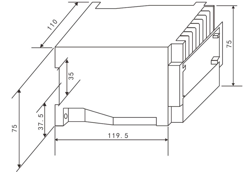
三、外形尺寸

單位:MM
四、功能模塊
4.1 模擬量變送輸出
模擬量變送輸出可選:DC0~20mA、DC4~20mA、DC0~5V、DC0~10V等。模擬量變送輸出與輸入信號隔離,成線性對應關系,廣泛用于PLC、DCS等數據采集。精度0.5%;電流輸出時,負載電阻<500Ω、電壓輸出時,負載電阻>100KΩ。
4.2 RS485通訊
4.2.1 通信協議
(1) RS485通訊接口,異步半雙工模式。
(2) 通訊波特率2400、4800、9600、19200bps 可設置,出廠默認值為9600 bps。
(3) 數據格式:N81無校驗位、8個數據位、1個停止位; O81奇校驗、8個數據位、1個停止位;E81偶校驗、8個數據位、1個停止位;N82無校驗位、8個數據位、2個停止位。
國際標準Modbus-rtu協議,儀表地址:1~247可設;本機目前支持03H、04H讀命令,03H、04H讀命令功能相同,10H寫寄存器命令。通信參數通過上位機軟件設置或顯示面板設置。
報文格式說明:
命令04H(或03H):讀命令
主機請求:地址 + 命令 + 數據地址 + 數據長度 + CRC校驗碼
1byte + 1byte + 2byte + 2byte + 2byte
地址:為所要查詢儀表地址碼,可以在 1~247內設置,占用 1個字節
命令:04H或03H讀命令,長度為 1個字節
數據地址:欲讀取的數據起始地址,占用 2個字節
數據長度:欲讀取的數據字長度
CRC16校驗碼:低8位在前,高8位在后,占用2個字節
從機響應:地址 + 命令 + 數據長度 + 數據信息 + CRC校驗碼
1byte + 1byte + 1byte + nbyte + 2byte
地址:為響應儀表地址碼,長度為 1個字節
命令:04H或03H ,長度為 1個字節
數據長度:將要發送的數據字節長度
數據信息:讀取的數據,具體見儀表參數地址表
CRC16校驗碼:占用2個字節,低8位在前,高8位在后
4.2.2 通信報文舉例:
(1) 讀數據寄存器(功能代碼03H/04H):讀三相電壓,A、B、C三相分別為220.0、221.2、220.5,儀表地址為1。
4.2.3 Modbus通信寄存器地址表

說明:
(1) 屬性中,R為只讀,W為只寫,W/R可讀可寫。
(2) 電壓二次側值=讀出值/10,一次側值=讀出值×Pt變比/10。單位為V。
(3) float浮點數采用IEEE754格式,符號位1位(S),指數位8位(E),尾數位23位(F),S EEEEEEEE FFFFFFFFFFFFFFFFFFFFFFF(31->0)。符號位:正數為0,負數為1;指位數偏移127;尾數表示小數加1。其表示為((-1)^S) * 2^(E-127) * (1+F/0x7fffff)。高位在前。
(4) 寄存器地址0,1,2,2048~2049,2050~2051,2052~2053三相四相接線方式,讀出的為相電壓,三相三線接線方式,讀出來的線電壓。
4.3 顯示模塊

A、B、C三相LED指示燈,僅A指示燈亮,代表當前電壓為A相電壓;當A,B二指示燈同時亮,代表AB相線電壓。220.0為顯示的電壓值,單位為V,顯示值為二次側電壓值。通過“▼”鍵切換顯示的相。
五、編程操作
5.1按鍵定義
功能鍵SET:用于進入菜單項,選擇設置項。
移位鍵?:循環選定頁面內的數碼管,選定的數碼管呈閃爍狀態。
增加鍵▲:加閃爍位數碼管的數值(數字在0~9之間循環)。
5.2 編程操作中按鍵的使用
按“SET”鍵進入參數設置頁面,按“▲”進入參數值修改,通過“?”和“▲”來實現更改參數,用“SET”鍵確認并進入下一項參數設置。
5.3 設置參數說明
5.3.1 參數設置流程圖
通信參數設置流程圖:

5.3.1 儀表運行參數設置(長按“SET”鍵3秒進入)

六、接線圖

說明:如與產品實物接線圖不一致,請以產品實物接線圖為準。
七、產品實物圖片

帶顯示模塊

不帶顯示模塊

導軌安裝底座
